新三板一周盘点:10家企业申报精选层获受理 合格投资者开户数超83万
5月11日至15日,新三板市场的拟精选层企业中,新增10家获全国股转公司受理材料,进入审查阶段。
同时,新增24家企业备战,其中12家可达精选层财务要求。
距离首批精选层挂牌越来越近,新三板对投资者吸引力增强。截至5月15日,合格投资者开户数超83万户,比17天前新增23万户,比年初增加了2.5倍。
新增10家企业获受理
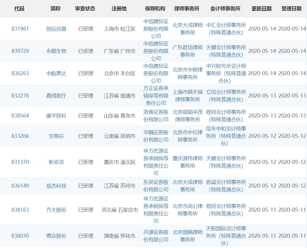
据全国股转公司官网资料更新,5月11日至15日,10家企业的精选层申报材料获受理,进入审查阶段。
10家企业分别是:创远仪器(831961)、永顺生物(839729)、中航泰达(836263)、鹿得医疗(832278)、康平铁科(838564)、生物谷(833266)、新安洁(831370)、旭杰科技(836149)、方大股份(838163)、德众股份(838030)。

此前获受理企业中,8家被问询,分别是:贝特瑞(835185)、佳先股份(430489)、龙泰家居(831445)、同享科技(839167)、流金岁月(834021)、蓝山科技(830815)、晨越建管(832859)、艾融软件(830799)。

新增备战企业24家 12家可达财务要求
5月11日至15日,新三板新增备战精选层企业24家,包括:齐鲁华信(830832)、建邦股份(837242)、百强股份(872841)等。
从备战进度看,长虹能源(836239)、鱼鳞图(831885)、齐鲁华信(830832)、同惠电子(833509)4家企业已进入辅导期或报送辅导备案材料。伊普诺康(835852)、建邦股份(837242)2家企业筹备议案获公司内部通过。其余18家企业处于筹备阶段,对公司制度进行完善等,为挂牌精选层做准备。
对照精选层财务要求,长虹能源、鱼鳞图等12家企业可达标。盈利规模上,长虹能源去年利润超1亿元,百强股份、曙光电缆年赚5000万以上。
挖贝新三板研究院资料显示,截至5月15日,备战精选层企业共计1043家,其中,27家的申报材料获受理,剩余企业中,5家完成辅导,103家处于辅导期,19家备战议案获公司内部通过,889家正完善相关制度等,处于筹备阶段。
附-5月11日至15日新增24家备战精选层企业情况

相关阅读
- 精选层第19次审议会议9月18日召开:恒合股份、广脉科技上会
- 新三板宁波水表成功上会 发审委关注近年来收入下滑问题
- 星月科技备战精选层:已与财信证券签订辅导协议 去年营收1.84亿元
- 凯德石英成北交所首批做市标的:突破了石英加工核心技术领域“卡脖子”的关键壁垒
- 科达自控获机构调研:新能源充电桩业务收入增长势头良好 市场前景广阔
- 禾昌聚合:合作的新能源品牌有比亚迪等 新能源汽车和商用车市场将成业绩新增长点
- 有米云营销大数据价值凸显,驱动有米科技迎增长拐点
- 2022年5月北京新三板企业市值TOP100:4家企业市值超过50亿元
- 北交所推出并购重组系列网课:共10门课程 包括标的寻找、估值定价等
- 欧普泰12月12日北交所上市 今年上半年净利润增长67.77%
动态 更多
A股 更多
港股 更多
快讯 更多
- 2025-09-19 18:55:44 | 美联股份拟港股上市:第一大客户收入占比达61%,港股同行业公司市盈率仅6倍平均日交易额仅66万港元
- 2025-09-19 17:41:46 | 天聚地合Jenius:打造可信的数据流通闭环,赋能制造业智能升级
- 2025-09-18 18:51:27 | 齐云山拟港股上市:核心产品单价下滑,港股同等规模零食企业市值约3亿港元日均交易额约12万港元
- 2025-09-17 18:32:48 | 老乡鸡拟港股上市:大幅扩张低坪效加盟店业务,港股同规模餐饮公司日交易额约为1500万至1800万港元
- 2025-09-16 18:52:28 | 宜品集团拟港股上市:上半年期内利润下滑43%,港股同等利润规模乳业公司日交易额仅有100万港元左右
- 2025-09-15 18:44:17 | 潮宏基拟港股上市:近年业绩起伏不定,港股同行业同规模企业市盈率仅27倍,但潮宏基A股市盈率高达46倍
- 2025-09-12 19:11:39 | 山推股份拟港股上市:应付票据54亿货币资金仅37亿,港股同行业、同规模企业市盈率仅10倍左右
- 2025-09-11 19:11:15 | 金晟新能源拟港股上市:同规模新能源企业日均交易额仅20万港元,现金及等价物3661万短期借款19亿
- 2025-09-10 19:14:15 | 八马茶业拟港股上市:上半年期内利润下降18%,同行业同规模港股公司日平均交易额仅2.4万港元
- 2025-09-09 19:26:30 | 罗博特科拟港股上市:市盈率664倍,港股同行30倍左右,同行业同规模港股公司日均交易额100万港元
